Перейти к основному содержанию

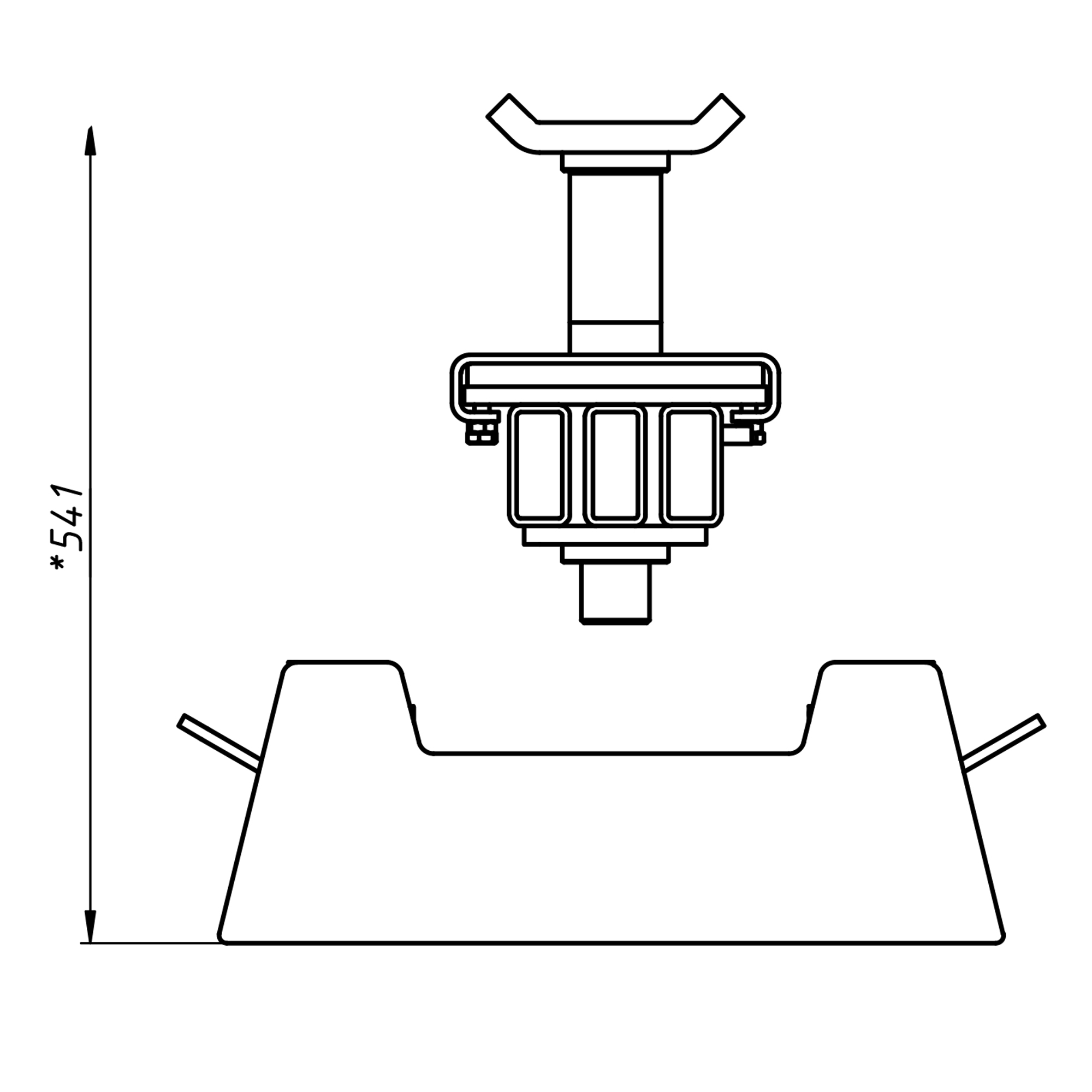
Опорная система для задних осей автомобиля 180 мм Гамматест GTM5013

Получить консультацию по товару:
Бесплатная
доставка
Монтаж
оборудования
Сервис

Опорная система для задних осей автомобиля 180 мм Гамматест GTM5013.

Предназначена для вывешивания автомобиля за две точки. Для работы с главными передачами и автобусами на пневмоподвеске необходимы траверсы с опорными системами.

Особенности данной опорной системы:

Универсальность:

Опорная система регулируется ступенчато и имеет стандартную высоту 180 мм. Она устанавливается в различные рабочие канавы и в окантовку канавы.
Оптимальный подъем вынесенных точек подхвата благодаря рамной конструкции системы. Особенно система полезна в комбинации с осевой траверсой со сдвижными опорами для низкосидящих автобусов.

Простота в использовании:

Под нагрузкой осевая траверса ложится на деревянные блоки. Это один из самых быстрых способов вывешивания автомобиля.

Эргономичность:

Когда опорная система не используется, она остается в канаве. Осевая траверса лежит внутри опорной системы

Преимущества опорной системы GTM5013:

Автомобиль поднимается, затем вывешивается, и канавный подъемник освобождается для других задач.

Внимание: Осевая траверса может быть удлинена только один раз (максимум 150 мм)!

Страна происхождения - Беларусь.