Перейти к основному содержанию

Разъединитель высоковольтный РВ 10/630 У3

Получить консультацию по товару:
Цену уточняйте
Бесплатная
доставка
Монтаж
оборудования
Сервис

Марка РВ
Номинальный ток 630
Исполнение разъединители без заземлителей
Напряжение 10
Климатическое исполнение У3
Серия РВ

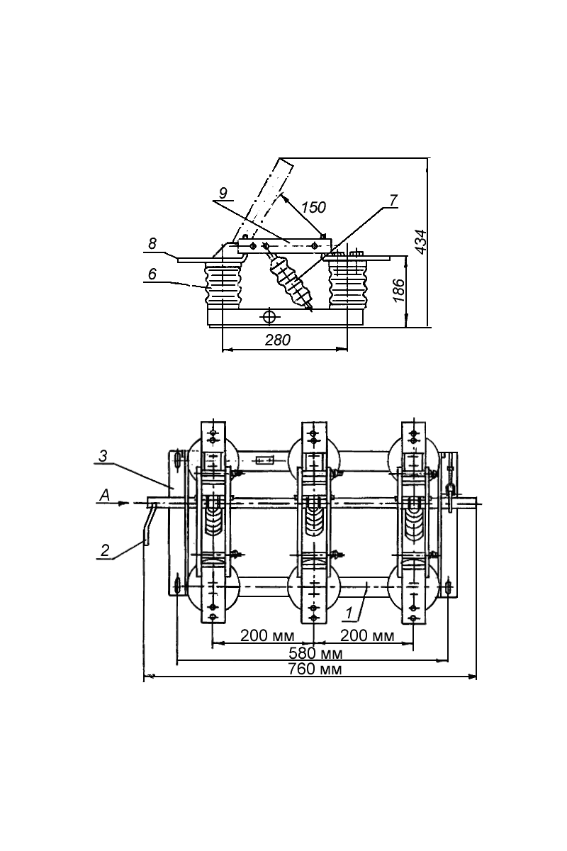
Трехполюсные разъединители РВЗ-10/630 I УХЛ2 представляют собой три токопровода, установленных на одной раме с основным (общим) валом и приводным рычагом.
При вращении вала разъединителя РВЗ-10/630 I УХЛ2 с помощью привода происходит одновременное включение или отключение трех контактных ножей. Токопровод состоит из двух неподвижных контактов 8 и подвижных контактных ножей 9. Неподвижный контакт 8 представляет собой медную шину согнутую под прямым углом. Подвижный контакт 9 состоит из двух медных полос, расположенных на некотором расстоянии друг от друга.
Для жесткости пластинам ножа придана коробчатая форма. Одна сторона неподвижного контакта 8 используется для крепления контакта к колпачку опорного изолятора 6, а также для крепления подводящей шины, а другая при включении ножа входит в зазор между его пластинами. Пластины контактного ножа 9 прижимаются к боковым поверхностям неподвижного контакта 8 посредством пружин 10. Контактный нож может поворачиваться вокруг оси, закрепленной на неподвижном контакте 8. Втулка 11 ограничивает сближение пластин контактного ножа при отключенном положении разъединителя. При каждом повороте контактного ножа сила трения, возникающая между его пластинами и неподвижным контактом 8, способствует удалению окислов с их контактных поверхностей.


Число полюсов 1, 3
Номинальное напряжение, Uном/Uнр, кВ 10/12
Номинальный ток, Iном, А 400, 630, 1000
Предельный ток термической устойчивости, Iд, кА 400 А - 16
630 А - 20
1000 А - 31,5
Ток электродинамической стойкости, Iд, кА 400 А - 16
630 A - 20
1000 A - 31,5
Электрическое сопротивление главной цепи контура 104x10 -6 OM
Номинальная частота 50/60 Гц
Климатическое исполнение У3
Степень защиты IP 00