доставка
оборудования
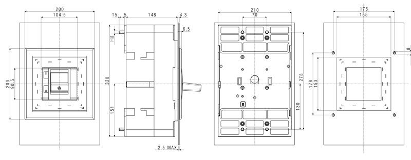
Номинальный ток 800А
Исполнение стационарное
Напряжение 690В
Выключатель ВА50-43Про на токи от 630 до 1600А является очередным этапом в программе модернизации продукции завода, вслед за ВА04-3*Про, «ПРОТОН» (ВА50-45Про), модульным оборудованием Кпро и ВА50-39Про. Выключатели новой серии призваны обновить существующую линейку продукции завода.
| Тип коммутационной способности | Н | П | ||
| Число полюсов | 3 | |||
| Номинальный ток выключателя In, А | 630, 800, 1000, 1600 |
|||
| Номинальное напряжение изоляции Ui, В | 690 | |||
| Номинальное импульсное выдерживаемое напряжение Uimp, кВ | 8 | |||
| Номинальное рабочее напряжение Ue, В при 50/60 Гц | 690 | |||
| Номинальная предельная наибольшая отключающая способность Icu, кА | ~230 В | 80 | 100 | |
| ~400 В | 50 | 70 | ||
| ~440 В | 45 | 60 | ||
| ~500 В | 35 | 45 | ||
| ~600 В | 20 | 35 | ||
| ~690 В | 20 | 25 | ||
| Номинальная предельная наибольшая отключающая способность Ics, в % к Icu | 100 | 75 | ||
| Износостойкость, циклов ВО (включения/отключения) | механическая | 10 000 | ||
| электрическая при I=In | 630, 800, 1000А | 3 000 | ||
| 1600А | 2 000 | |||
| Номинальная наибольшая включающая способность Icm, кА | ~230 В | 132 | 220 | |
| ~400 В | 76 | 154 | ||
| ~440 В | 63 | 132 | ||
| ~500 В | 52 | 84 | ||
| ~600 В | 40 | 52 | ||
| ~690 В | 32 | 40 | ||
| Номинальный кратковременно выдерживаемый ток (t=1c) Icw, кА | 25 | 25 | ||