доставка
оборудования
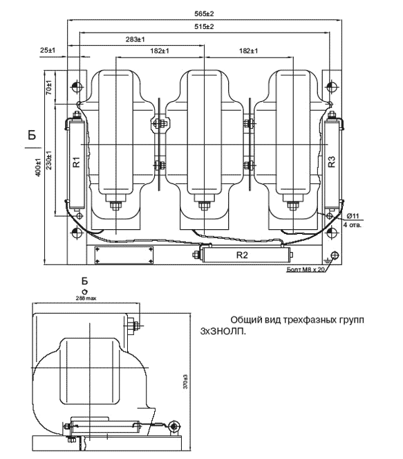
Марка 3*ЗНОЛ
Напряжение 10кВ
Тип Трансформаторы напряжения
| Характеристики | Значения | |
|
3xЗНОЛ-СЭЩ-6 3xЗНОЛ-СЭЩ-6-1 |
3xЗНОЛ-СЭЩ-10 3xЗНОЛ-СЭЩ-10-1 |
|
| Класс напряжения по ГОСТ1516.3-96, кВ | 6 | 10 |
| Наибольшее рабочее напряжение | 7,2 | 12 |
| Номинальное линейное первичное напряжение, В | 6000 | 10000 |
| Номинальное линейное вторичное напряжение, В | 100 | |
| Напряжение на вводах разомкнутого треугольника дополнительных вторичных обмоток: | ||
| - при симметричном режиме работы сети, В, не более | 3 | |
| - при замыкании одной из фаз сети на землю, В | 90-100 | |
| Классы точности основной вторичной обмотки | 0,2; 0,5; 1,0; 3,0 | |
| Номинальная трехфазная мощность основной вторичной обмотки при измерении линейных напряжений и симметричной нагрузке, ВА в классах точности: | ||
| - 0,2 | 30,45,75,90 | |
| - 0,5 | 90,150,225 | |
| - 1 | 150,200,300 | |
| - 3 | 600 | |
| Номинальная мощность дополнительных вторичных обмоток, соединенных в разомкнутый треугольник, при напряжении 100 В и cosφ2=0,8, B*A | 400 | |
| Предельная мощность вне класса точности, BA | 1300 | |
| Схема и группа соединения обмоток | YHR/YH/п-0 | |
| Номинальная частота, Гц | 50 или 60 | |
| Тип резисторов R1, R2, R3 | C5-35B, 100Bт, 3кОМ±5% | C5-35B, 100Bт, 2,4кОМ±5% |
| Масса группы, не более, кг | 110 | |
| Климатическое исполнение | У2 | Т2 |
| Высота над уровнем моря, м | 1000 | |
| Верхнее рабочее значение температуры окружающего воздуха, С | +50° | +55° |
| Нижнее значение температуры окружающего воздуха для исполнения | - 45° | -10° |
| Тип атмосферы | II по ГОСТ 15150-69 (примерно соответствует атмосфере промышленных районов) | |
Трехфазная группа измерительных трансформаторов напряжения 3 хЗНОЛ -СЭЩ (именуемая в дальнейшем трехфазная группа ) предназначена для установки в комплектные распределительные устройства ( КРУ ) внутренней и наружной установки , а также в сборные камеры одностороннего обслуживания ( КСО ) и является комплектующим изделием .
Трехфазная группа обеспечивает питание приборов учета электроэнергии , аппаратуры , релейных ( микропроцессорных ) защит и автоматики , а также используется для контроля изоляции в сетях 6(10) кВ с изолированной или заземленной через дугогасящий реактор нейтралью .
Трехфазная группа изготавливается в климатическом исполнении У и Т категории размещения 2 по ГОСТ 15150-69 и предназначена для работы в следующих условиях:
- верхнее значение температуры окружающего воздуха для исполнения У +50 ºС, для исполнения Т +55 ºС;
- нижнее значение температуры окружающего воздуха -45 ºС;
- относительная влажность воздуха 100 % при +25 ºС для исполнения У, при +35 ºС для исполнения Т;
- высота над уровнем моря не более 1000 м;
- окружающая среда невзрывоопасная , не содержащая токопроводящей пыли , химически активных газов и паров в концентрациях , разрушающих металлы – атмосфера типа II по ГОСТ 15150-69;
- положение трехфазной группы трансформаторов напряжения в пространстве – любое .