доставка
оборудования
Марка 3*ЗНОЛ
Напряжение 6кВ
Тип Трансформаторы напряжения
|
Характеристики |
Значения |
|
|
3xЗНОЛ-СЭЩ-6 3xЗНОЛ-СЭЩ-6-1 |
3xЗНОЛ-СЭЩ-10 3xЗНОЛ-СЭЩ-10-1 |
|
|
Класс напряжения по ГОСТ1516.3-96, кВ |
6 |
10 |
|
Наибольшее рабочее напряжение |
7,2 |
12 |
|
Номинальное линейное первичное напряжение, В |
6000 |
10000 |
|
Номинальное линейное вторичное напряжение, В |
100 |
|
|
Напряжение на вводах разомкнутого треугольника дополнительных вторичных обмоток: |
||
|
- при симметричном режиме работы сети, В, не более |
3 |
|
|
- при замыкании одной из фаз сети на землю, В |
90-100 |
|
|
Классы точности основной вторичной обмотки |
0,2; 0,5; 1,0; 3,0 |
|
|
Номинальная трехфазная мощность основной вторичной обмотки при измерении линейных напряжений и симметричной нагрузке, ВА в классах точности: |
||
|
- 0,2 |
30,45,75,90 |
|
|
- 0,5 |
90,150,225 |
|
|
- 1 |
150,200,300 |
|
|
- 3 |
600 |
|
|
Номинальная мощность дополнительных вторичных обмоток, соединенных в разомкнутый треугольник, при напряжении 100 В и cosφ2=0,8, B*A |
400 |
|
|
Предельная мощность вне класса точности, BA |
1300 |
|
|
Схема и группа соединения обмоток |
YHR/YH/п-0 |
|
|
Номинальная частота, Гц |
50 или 60 |
|
|
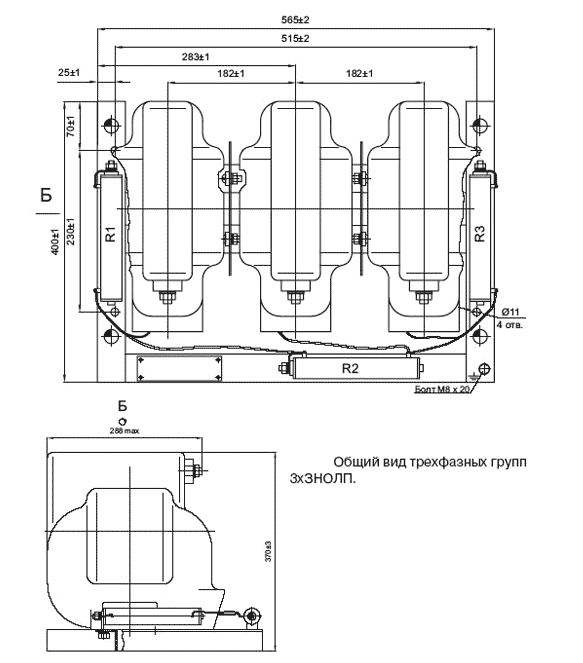
Тип резисторов R1, R2, R3 |
C5-35B, 100Bт, 3кОМ±5% |
C5-35B, 100Bт, 2,4кОМ±5% |
|
Масса группы, не более, кг |
110 |
|
|
Климатическое исполнение |
У2 |
Т2 |
|
Высота над уровнем моря, м |
1000 |
|
|
Верхнее рабочее значение температуры окружающего воздуха, С |
+50° |
+55° |
|
Нижнее значение температуры окружающего воздуха для исполнения |
- 45° |
-10° |
|
Тип атмосферы |
II по ГОСТ 15150-69 (примерно соответствует атмосфере промышленных районов) |
|
Трехфазная группа измерительных трансформаторов напряжения 3 хЗНОЛ -СЭЩ (именуемая в дальнейшем трехфазная группа ) предназначена для установки в комплектные распределительные устройства ( КРУ ) внутренней и наружной установки , а также в сборные камеры одностороннего обслуживания ( КСО ) и является комплектующим изделием.
Трехфазная группа обеспечивает питание приборов учета электроэнергии , аппаратуры , релейных ( микропроцессорных ) защит и автоматики , а также используется для контроля изоляции в сетях 6(10) кВ с изолированной или заземленной через дугогасящий реактор нейтралью.
Трехфазная группа изготавливается в климатическом исполнении У и Т категории размещения 2 по ГОСТ 15150-69 и предназначена для работы в следующих условиях:
- верхнее значение температуры окружающего воздуха для исполнения У +50 ºС, для исполнения Т +55 ºС;
- нижнее значение температуры окружающего воздуха -45 ºС;
- относительная влажность воздуха 100 % при +25 ºС для исполнения У, при +35 ºС для исполнения Т;
- высота над уровнем моря не более 1000 м;
- окружающая среда невзрывоопасная , не содержащая токопроводящей пыли , химически активных газов и паров в концентрациях , разрушающих металлы – атмосфера типа II по ГОСТ 15150-69;
- положение трехфазной группы трансформаторов напряжения в пространстве – любое.