Перейти к основному содержанию

Разъединитель РЛНД -1-10 II/400 УХЛ1 с приводом ПРНЗ-10

Получить консультацию по товару:
Цену уточняйте
Бесплатная
доставка
Монтаж
оборудования
Сервис
  • для создания видимого разрыва электрической цепи с целью обеспечения безопасного обслуживания электротехнического оборудования;
  • для включения и отключения под напряжением обесточенных участков цепи высокого напряжения;
  • заземления отключенных участков при помощи стационарных заземлителей;
  • для отключения и включения тока холостого хода трансформаторов;
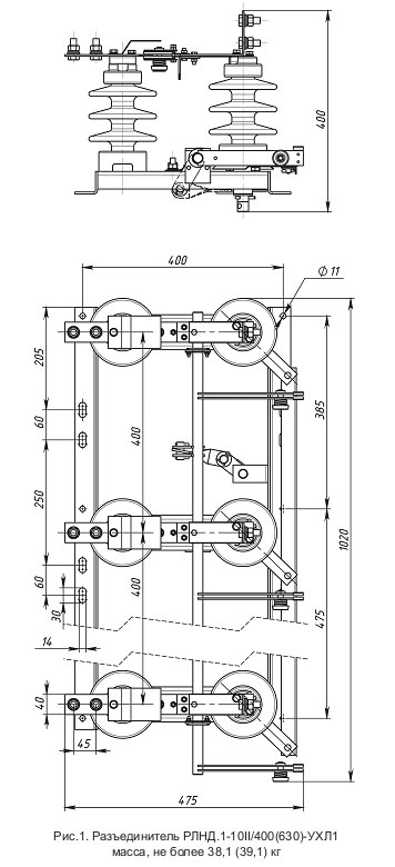
  • Рабочие элементы линейного разъединителя наружной установки РЛНД расположены на прочной раме. Основные части аппарата – система контактных ножей, тяга, нож заземлителя, фарфоровые изоляторы, вал и рычаг привода. Разъединители оснащаются фарфоровыми изоляторами С4-80 II. В качестве материала производства контактных ножей для представленных в ассортименте разъединителей используется алюминий. Рама и другие элементы устройства произведены из черных металлов и защищены от негативного воздействия окружающей среды антикоррозийным покрытием. К новому разъединителю прилагаются сертификат соответствия и технический паспорт.

Номинальное напряжение, кВ 10
Наибольшее рабочее напряжение, кВ 12
Номинальный ток, А 400
Ток электродинамической стойкости, кА 25
Ток термической стойкости, кА 10
Время протекания тока термической стойкости, с:

- для главных ножей

- для ножей заземления


4

1
Установленный ресурс по механической прочности, циклов ВО 10 000
Длина пути утечки внешней изоляции, см, не менее 30
Допустимое тяжение проводов, прикладываемое к неподвижным изоляторам, Н, не более 200
Масса трехполюсного разъединителя, кг: 50