Перейти к основному содержанию

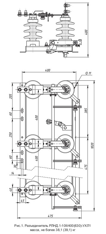
Разъединитель РЛНД -1-10 II/630 УХЛ1 с приводом ПРНЗ-10

Получить консультацию по товару:
Цену уточняйте
Бесплатная
доставка
Монтаж
оборудования
Сервис

Марка РЛНД
Номинальный ток 630
Исполнение разъединители с одним заземлителем на полюс со стороны ведущей колонки
Напряжение 10
Климатическое исполнение У1
Серия РЛНД

Разъединитель РЛНД-1-10/630 У1. Предназначение

для создания видимого разрыва электрической цепи с целью обеспечения безопасного обслуживания электротехнического оборудования;
для включения и отключения под напряжением обесточенных участков цепи высокого напряжения;
заземления отключенных участков при помощи стационарных заземлителей;
для отключения и включения тока холостого хода трансформаторов;

Привод ПРНЗ-10 предназначен для ручного включения и отключения главных и заземляющих ножей разъединителей.


Наименование параметра Значение параметра
Номинальное напряжение, кВ 10
Наибольшее рабочее напряжение, кВ 12
Номинальный ток, А 630
Ток электродинамической стойкости, кА 25
Ток термической стойкости, кА 10
Время протекания тока термической стойкости, с:
- для главных ножей
- для ножей заземления

4
1
Установленный ресурс по механической прочности, циклов ВО 10 000
Длина пути утечки внешней изоляции, см, не менее 30
Допустимое тяжение проводов, прикладываемое к неподвижным изоляторам, Н, не более 200
Масса трехполюсного разъединителя, кг: 36.5
  • для создания видимого разрыва электрической цепи с целью обеспечения безопасного обслуживания электротехнического оборудования;
  • для включения и отключения под напряжением обесточенных участков цепи высокого напряжения;
  • заземления отключенных участков при помощи стационарных заземлителей;
  • для отключения и включения тока холостого хода трансформаторов;

Особенности конструкции

Рабочие элементы линейного разъединителя наружной установки РЛНД расположены на прочной раме. Основные части аппарата – система контактных ножей, тяга, нож заземлителя, полимерные изоляторы, вал и рычаг привода. Разъединители оснащаются полимерными изоляторами ОСК4-10. В качестве материала производства контактных ножей для представленных в ассортименте разъединителей используется медь. Рама и другие элементы устройства произведены из черных металлов и защищены от негативного воздействия окружающей среды антикоррозийным покрытием. К новому разъединителю прилагаются сертификат соответствия и технический паспорт.